Comparison between homogeneous and separated flow models of isobutane flowing through adiabatic capillary tubes
-
Abstract
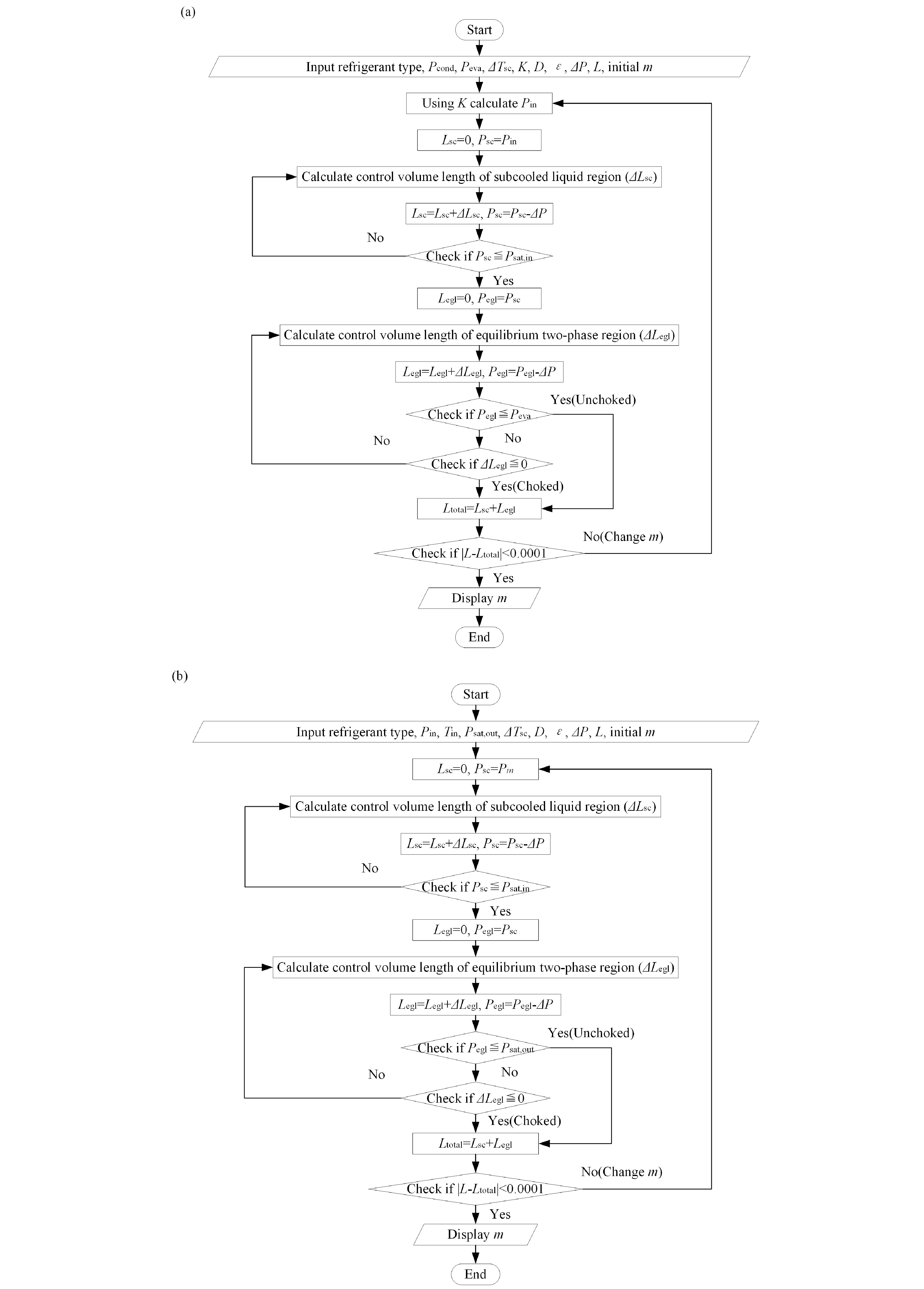
Capillary tubes have been widely used as expansion devices in small-scale refrigeration and heat-pump systems. However, adiabatic flow through a capillary tube is extremely complicated, despite its simple geometry. This work presents a comparative study on the homogenous flow model and separated flow model, which were used to simulate the flow of isobutene (R600a) through adiabatic capillary tubes. The influence of different combinations of friction factor and two-phase viscosity correlations, and the effect of metastable flow on the flow characteristics were investigated. The predicted mass flow rate was lower when the separated flow model was used. The separated flow model performed better in predicting a mass flow rate over 2 kg·h−1. The Colebrook friction factor correlation combined with the Dukler or McAdams viscosity correlation yielded smaller deviations of 5.43%, 5.49% and 5.44%, 5.43% when ignoring and considering the metastable flow, respectively. Additionally, the homogenous flow model adopting the Bittle and Pate friction factor and Dukler viscosity correlations achieved the highest accuracy with a mass flow rate under 2 kg·h−1. The mean error was 4.12% in the case without metastable flow, and 3.37% in the case with metastable flow.
-
-